ArenaEV.com ArenaEV.com

Facebook

Twitter

Instagram

RSS

Settings
Units
Power
Standard
Consumption
Currency

Log in

Login

I forgot my password
Sign up
ADVERTISEMENTS

BMW patents 'Push-to-Pass' feature for electric sports cars

  • Post your comment
  • Comments (1)

Max McDee, 05 November 2023

BMW

In the ever-evolving world of electric vehicles, BMW has taken a path maybe slightly less trodden with its latest innovation - a 'Push-to-Pass' boost mode designed specifically for electric sports cars. With this cutting-edge technology, BMW wants to redefine the driving experience in EVs, promising to bring an exhilarating edge to what apparently many perceive as a sedate sector of the automotive industry.

At the heart of this innovation is a simple yet ingenious concept: a boost mode that can be activated via a paddle or button. This function unleashes a sudden surge in torque, transforming the EV from a smooth cruiser into a more responsive and spirited machine. The idea is to make electric cars not just about efficiency and sustainability, but also about excitement and emotion.

WIPO filing image WIPO filing image

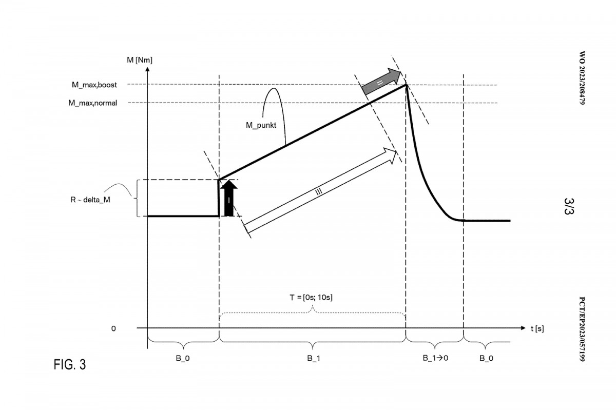
According to the latest WIPO filing, the system works by allowing the driver to trigger the boost mode, which then causes the car's control unit to rapidly increase the drive torque. This increase is so swift that it's perceived not as a gradual build-up but as a palpable jolt of acceleration, offering a thrilling experience to the occupants. This sudden burst of power is akin to the turbo boost found in some high-performance combustion engine cars but tailored for the unique capabilities of electric motors.

To further augment this exhilarating sensation, BMW proposes integrating special soundscapes that accompany the torque boost, adding an auditory dimension to the experience. If that wasn’t enough, the system could be calibrated to offer a more dramatic effect by initially limiting the torque in regular driving modes and unlocking the full potential only when the boost function is engaged.

WIPO filing image WIPO filing image

This technology isn't just a fanciful concept; it appears readily implementable in existing BMW models like the i4. It's anticipated that this feature will be a part of a broader array of EV-specific performance enhancements, especially as BMW progresses towards electrifying its iconic M series, like the future M3 EV.

With this development, BMW believes it addresses a common critique of electric vehicles: their lack of emotional appeal compared to traditional combustion engine sports cars. By introducing such a dynamic feature, BMW not only ups the ante in terms of EV performance but also makes a strong statement about the future of electric sports cars – they can be as thrilling, if not more, as their gasoline-powered counterparts.

WIPO filing image WIPO filing image

The application of this technology in BMW's EV lineup suggests it will be accessible across various models, potentially influencing the overall design and engineering of future BMW electric sports cars.

BMW's 'Push-to-Pass' boost mode is more than just a technological advancement. BMW wants us to see it as a statement about the future of electric sports cars, but in reality, it is an admission that its own electric cars lack the performance customers expect.

Rather than improve the existing technology, BMW decided to come up with a button and software that would in the essence limit the power output of the vehicle and only give the full beans when requested - for just a very short space of time. It’s not hard to imagine, knowing BMW’s record, that there is a subscription service hiding in the shadows.

Source

Related articles
  • BMW reconsiders range extender technology for future X5 and 7 Series electric vehicles BMW reconsiders range extender technology for future X5 and 7 Series electric vehicles
  • BMW iX3 flexes its hyper-charging speeds in real-world test BMW iX3 flexes its hyper-charging speeds in real-world test
  • BMW iX3 drives over 1,000 km on public roads without recharging BMW iX3 drives over 1,000 km on public roads without recharging
  • BMW iX3 gets hands-off Motorway Assistant certified in Europe for highway speeds BMW iX3 gets hands-off Motorway Assistant certified in Europe for highway speeds

Reader comments

?
  • Anonymous
  • XsX
  • 06 Nov 2023

Haven't really taken notice of cars since pre-2020. Nowadays, all these new cars look the same: ugly. Never did I think BMW cars would get so hideous... If you covered the badge/grille, I would have legitimately thought it was one of those rando...

  • Reply
  • Read all comments
  • Post your comment
Total reader comments: 1

  • Home
  • Compare
  • News
  • Terms
  • Reviews
  • About us
  • Tesla
  • Volkswagen
  • Audi
  • Porsche
  • BMW
  • Mercedes
  • Hyundai
  • Kia
  • Genesis
  • Renault
  • Nissan
  • Ford
  • Volvo
  • Polestar
  • Jaguar
  • Toyota
  • Mazda
  • Mini
  • MG
  • Vinfast
  • Lucid
  • Rivian
  • Cadillac
  • Chevrolet
  • GMC
  • Subaru
  • Nio
  • Xpeng
  • BYD
  • [..]

EV finder

ADVERTISEMENTS

Latest models

  • ModelPorsche
    Cayenne Turbo Electric
  • ModelJeep
    Recon
  • ModelZeekr
    001 Ultra+ 103 kWh AWD
  • ModelToyota
    Hilux BEV
  • ModelToyota
    bZ AWD Limited
  • ModelRenault
    Twingo

Featured

  • Different types of electric motors used in EVs Different types of electric motors used in EVs
  • Why solar panels on cars make no sense (at this point) Why solar panels on cars make no sense (at this point)
  • Comparison of NEDC, EPA and WLTP cycles Comparison of NEDC, EPA and WLTP cycles
  • VW ID.4, Audi Q4 and Skoda Enyaq - three identical yet so different EVs VW ID.4, Audi Q4 and Skoda Enyaq - three identical yet so different EVs
  • Tesla Model S beats 28 cars for winter range test crown Tesla Model S beats 28 cars for winter range test crown
ADVERTISEMENTS

Reviews

  • BMW iX2 xDrive30 review BMW iX2 xDrive30 review
  • Kia EV9 AWD GT-Line review Kia EV9 AWD GT-Line review
  • 2024 Tesla Model 3 Long Range review 2024 Tesla Model 3 Long Range review
  • 2026 BMW iX3 Neue Klasse detailed tour and impressions 2026 BMW iX3 Neue Klasse detailed tour and impressions

Home News Compare About us RSS feed Facebook Twitter Instagram

© 2022-2025 ArenaEV.com Mobile version EV Finder Glossary Privacy Terms of use

From the team behind
GSMArena.com